43rumorsによると
Hi-Lows-NoteにパナソニックのLEICA DG VARIO-ELMARIT 50-200mm/F2.8-4.0 ASPH./POWER O.I.S.レンズの正確な光学設計を記載した新しいシグマの特許を発見しました。


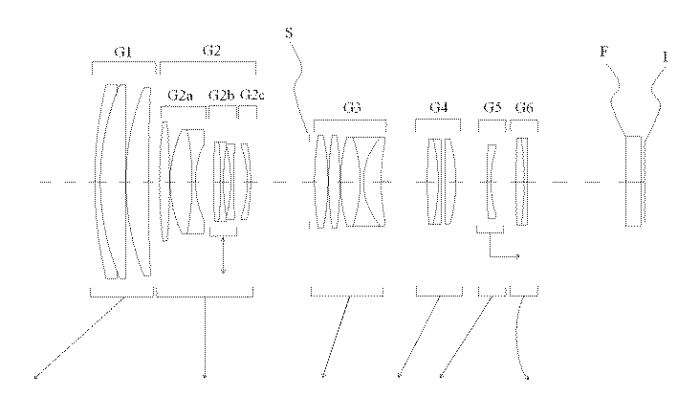
上の写真がシグマの特許済みの画像で、下がライカレンズの画像になります。
この2つに違いはありません。
と書かれています。
シグマ製のパナソニックライカレンズ?
パナソニックのライカレンズ、略してパナライカなんて呼ばれていますが、これはパナソニックが設計・製造し、ライカの品質基準をクリアした高性能なレンズのことを示します。
しかし、このLEICA DG VARIO-ELMARIT 50-200mm/F2.8-4.0 ASPH./POWER O.I.S.レンズはどうやらシグマが設計したようです。
つまり、パナソニックがシグマに設計を委託し、ライカの品質テストをクリアしたレンズということになります。
これはパナソニックのライカレンズというよりはシグマのライカレンズといったほうが正しいのかもしれませんね。
ちなみにシグマが設計したマイクロフォーサーズレンズといえば、他にはOLYMPUSの75mm F1.8や25mm F1.2や45mm F1.2レンズなどが有名で、どのレンズも非常に光学性能が優れています。
このようにマイクロフォーサーズ規格にとってシグマはとても重要な役割を果たしているようですね。
[amazonjs asin="B07B4Q1GLK" locale="JP" title="パナソニック ズームレンズ マイクロフォーサーズ用 ライカ DG VARIO-ELMARIT 50-200mm/F2.8-4.0 ASPH./POWER O.I.S. H-ES50200"]
[maxbutton id="15"]
